Рентгенотелевизионная система контроля грузов "AUTOCLEAR 100100Т"
Сертификат ISO 9001
Интроскоп AUTOCLEAR 100100T крупногабаритный рентгенотелевизионый конвейерный аппарат, с высокой проникающей способностью и грузоподъемностью, с размером туннеля: ширина 1,0 м х высота 1,0 м. Предназначен для контроля грузов и багажа. Обнаруживает скрытые оружие, взрывчатку, запрещенные к вложению предметы. Идеально подходит для эксплуатации в аэро- и морских портах, административных и офисных зданиях, отделениях полиции, на вокзалах, складах, почтовых отделениях, при проведении массовых мероприятий и т.д.

Функция RealClear мгновенно выделяет компоненты оружия, ножей.
Особенности:
- Нижнее расположение конвейера, высокая грузоподъемность и пропускная способность. Конструкция с вертикальным расположением источника излучения, занимающая мало места по площади пола.
- Складывающиеся при транспортировке элементы конвейера.
- Функция RealClear повышает контрастность ярких участков изображения.
- Функция autоTracking управления конвейерной лентой.
- Запатентованая функция autoSensing информирует оператора о проблемах с фотодатчиками.
Спецификация AUTOCLEAR 100100T
| Размер туннеля: | ширина 100 см высота 100 см |
| Проникающая способность (в стали): | 28-29мм |
| Контрастная чувствительность: | Более 2 млн. стандартных цветных тонов |
| Разрешающая способность (по проволоке): | 40 AWG (0,08 мм). |
| Обработка изображения: | 32х битный видеопроцессор, 2.4ГГц |
| Конвейер: | Складывающийся, высота от пола 27 см, скорость 24 см в секунду. Реверс. |
| Тяговая сила конвейера: | 150 кг, (опция до 403,2 кг) |
| Безопасность для фотоматериалов: | Гарантированная для чувствительности до ISO 1600 (33 DIN) |
| Рентгеновский генератор: | |
| Источник излучения: | Герметичная, необслуживаемая колба. |
| Анодное напряжение: | 160 кВ |
| Охлаждение: | Dоздушное |
| Направление пучка: | Диагональное |
| Мощность дозы облучения: | не более 0,1 мР |
| Эксплуатационные характеристики: | |
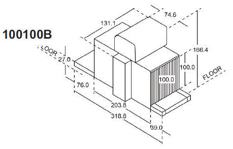
| Габаритные размеры: | длина 314,2 см; ширина 129,3 см: высота 192,9 см. |
| Вес: | 726 кг 998 кг в упаковке |
| Конструкция: | Стальной каркас с панелями, алюминиевая накладка и принадлежности. Пульт из нержавеющей стали, размещается сверху или на дополнительном столе. |
| Внешние условия эксплуатации:: | Температура эксплуатации 0 - +40С Влажность: 20% - 95% (без конденсации) |
| Электропитание: | 220В (+/- 10%), мощность не более 1 кВт. |
Отображение информации
Стандартный цветной 17” SVGA монитор, видеокарта с разрешением 1280х1024, антибликовое покрытие.
Базовые возможности:
- AutоTracking — синхронизирует вывод изображения с движением конвейера
- AutoCal — автоматическая калибровка сенсоров перед началом сканирования
- AutoSensing — начало вывода изображения при пересечении предметом рентгеновского пучка (позволяет проверять тонкие конверты на предмет посторонних вложений)
- AutoScale — компенсирует геометрические искажения при любом положении предмета на конвейере
- Multy Energy - технология, применяемая во всех установках AUTOCLEAR, позволяет оператору по цвету различать органические и неорганические вещества
- Отображение: Органика / Неорганика
- Real Clear– повышает контрастность ярких участков изображения.
- Функция autoDensalert
- Функция autoOutline
- Функция Lo-Den
- Функция autoCal
- 64 кратный zoom
- Цветное, черно-белое изображение.
- Меню помощи
- Быстрый запуск (25 секунд)
- Реверс конвейера
Дополнительные опции:
- T.I.P.- автоматическое наложение изображений опасных предметов на реальный багаж для проверки бдительности и обучения операторов
- AutoMatAlert (Material marking) — выделение подозрительных материалов по атомному числу и плотности
- Image Archiving/Review — архивация изображений
- Images download — запись выбранных изображений на внешний USB-носитель в формате JPG или ВМР
- AUTONET — дистанционный просмотр изображений через локальную сеть с использованием протокола TCP/IP
- Built in training — тренировочная программа для операторов
- Валиковый танспортер (рольганг)
- Additional monitor — дополнительный монитор
- Surge Protector Power conditioner - cтабилизатор напряжения
- UPS — блок бесперебойного питания
- Item counter — cчетчик багажа
- Tropical humidity kit — подготовка для использования в условиях большого перепада температур и повышенной влажности
Габаритные размеры


Описание актуально на: 28.12.2010.
Для уточнения технических характеристик «Рентгенотелевизионная система контроля грузов "AUTOCLEAR 100100Т"», а также для получения информации по наличию и условиям поставки Вы можете заполнить форму запроса ниже.
Внимание! Поставка оборудования осуществляется только юридическим лицами и только по безналичному расчёту.


